消声器(消音器)是一种能阻碍声音传播而让气流通过的、防治空气动力性噪声的主要设备。大野机械生产的消声器系列适用于锅炉蒸汽、加热炉、烘炉开工时管道排汽放空消声,并适用于其它气体(如空气、过热蒸汽、饱和蒸汽、氮、氮、氧及空压机、风机的多余气体等)进、排放消声。产品经放大用户使用,消声效果良好,消声量可达30dB(A)以上,完全符合国家《工业企业噪声》卫生标准。
产品规格及尺寸:
1、SDS型蒸汽排放消声器
型号
接管规格
(DN)
排放流量
(t/h)
适用压力
外型尺寸mm
H
h
Ф
D
SDS-1/1.3
32
1
≤1.0MPa
730
100
Ф300
Ф159
SDS-2/1.3
50
2
770
100
Ф350
Ф219
SDS-4/1.3
65
4
1140
150
Ф450
Ф298
SDS-6/1.3
80
6
1250
150
Ф500
Ф351
SDS-8/1.3
100
8
1365
150
Ф520
Ф377
SDS-10/1.3
125
10
1625
150
Ф600
Ф426
SDS-16/1.3
150
16
1790
150
Ф700
Ф498
说明:(1)本系列消声器额定排放流量按1.3MPa,如排汽压力为0.8MPa,选用消声器应比排放管径大一级,排汽压力为2.0MPa时应比排放管径小一级选用。
   (2)本系列消声器消声量:35dB(A)。
   (3)本系列消声器接管法兰标准为:JB/T82.1-94,PN2.5,客户有要求可另选。
2、SDA型气体放空消声器
型号
排放流量
(t/h)
接管规格
(DN)
外型尺寸mm
h
d
SDA-3/0.8
3
25
630
570
Ф108
SDA-6/0.8
6
40
SDA-10/0.8
10
50
700
640
Ф159
SDA-20/0.8
20
80
800
735
Ф185
SDA-40/0.8
40
100
1000
930
Ф230
SDA-60/0.8
60
125
Ф260
注:接管法兰标准为:JB/T81-94,PN1.6。
  本系列适用压力0.8MPa,适用温度200oC,消音量30dB。
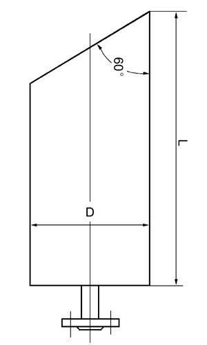
3、SDQ型压缩空气放空消声器
型号
外型尺寸mm
接管规格
(DN)
风量
(m3/min)
L
D
SDQ-3/0.8
3-7
822
Ф159
40
SDQ-6/0.8
4-10
886
Ф219
50
SDQ-10/0.8
7-16
1237
Ф273
65
SDQ-20/0.8
10-23
1371
Ф325
80
SDQ-40/0.8
29-66
1511
Ф377
100
SDQ-60/0.8
22-73
1781
Ф426
125
SDQ-100/0.8
54-123
1952
Ф480
150
注:本系列消声器接管法兰标准为:JB/T81-94,PN1.6。
  本系列消声器一般为卧式安装。
  本系列适用压力0.8MPa,适用温度200,消音量35dB。

 
   
牛宝体育app

COPYRIGHT © 2004 日本独资·牛宝体育app 版权所有 苏ICP备05009106号

大野机械主要产品混合机_混合器_乳化机_搅拌机_分散机_阻火器_呼吸阀_输送机