 |
|
DJQ型气体过滤器是大野机械一种新型、高效气体除尘设备,广泛用语石油、天然气等工业部门,具有结构先进、除尘效率高、操作维护方便等优点。
DJQ型气体过滤器有外壳、滤芯组成,当含尘气体进入过滤器时在重力作用下,预先使粗粉分离,较细的粉粒则随着气体由外向里通过筒式滤体时,被阻留在滤芯上,气体得以净化。当滤芯积尘后,阻力逐渐增大,达到一定程度,取出用水清洗即可。 |
主要技术参数:
公称直径:DN40-DN300
工作压力:1.0-5.4MPa
工作温度:≤80oC
处理量:≤12000m3/h(工作状态下) |
|
|
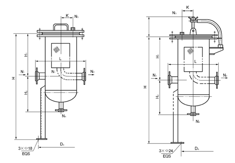
型号 |
外型尺寸mm |
放空口
N3 |
排污口
N4 |
L |
H |
H1 |
H2 |
H3 |
D0 |
K |
DJQ-40 |
370 |
850 |
350 |
200 |
/ |
φ240 |
60 |
M20X1.5 |
DN25 |
DJQ-50 |
DJQ-65 |
460 |
1020 |
420 |
300 |
/ |
φ360 |
60 |
DJQ-80 |
DJQ-80 |
575 |
1110 |
480 |
330 |
/ |
φ440 |
80 |
DJQ-100 |
DJQ-125 |
715 |
1265 |
550 |
415 |
300 |
φ380 |
100 |
DJQ-150 |
DJQ-150 |
815 |
1470 |
680 |
490 |
300 |
φ480 |
100 |
DJQ-200 |
DJQ-200 |
920 |
1700 |
840 |
560 |
350 |
φ580 |
120 |
DJQ-250 |
DJQ-250 |
1020 |
1875 |
960 |
615 |
350 |
φ680 |
120 |
DJQ-300 |
|
|
| |